Tópico oficial para rumores para o sistema RF

Constantemente temos rumores sobre novas lentes e a idéia aqui é concentrar os rumores sobre novas lentes RF e RF-S e câmeras RF :ok:

E com isso “tentar” ter um histórico mais fácil de localizar do que foi divulgado como rumor e o que realmente virou realidade.

vamos lá:

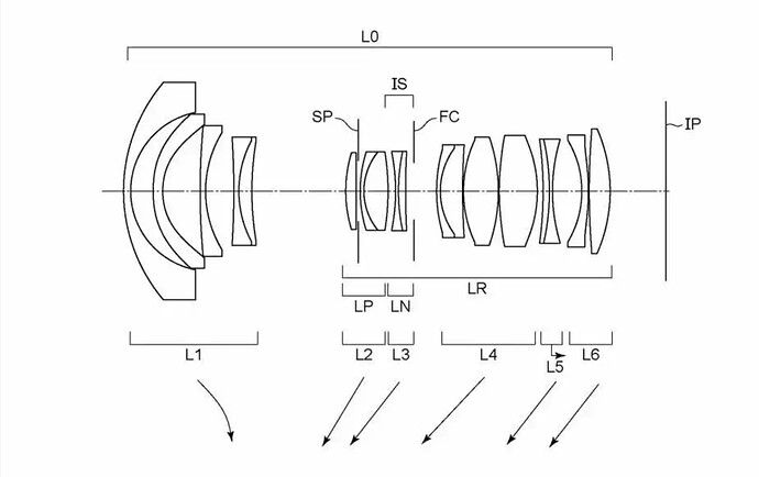
CANON PATENT: 11-24MM F/4 IS, 12-24MM F/2.8 IS, AND ALREADY RELEASED RF 14-35MM F/4L IS

A new week, a new Canon patent application. More lenses for the RF mount and one already released lens.

Canon patent application 2020-199535 (Japan) seems to describe the optical formula for the already released RF 14-35mm f/4L IS, and for two more wide angle zoom lenses for the RF mount: 11-24mm f/4 IS and 12-24mm f/2.8 IS.

11-24 F4 :wub:

Mais um:

Se vier uma pancake com ângulo de visão similar a 20~24mm no FF para o RF-S vai incrementar e muito as possibilidades com a R7 e R10.

será?

:snack:

Coisa boa hein! achei legal a proposta da 15-30, eu já mencionei alguma vez que gostaria de ter uma assim. Penso que uma lente ultra grande angular não tão clara mas com boa nitidez é perfeita pra quem faz fotografia de arquitetura ou paisagens, já que quase sempre está usando f7.1 ou mais.

Essa 24mm também será interessante pois irá ficar entre a 16mm e a 35mm.Ouvi um papo que ela teria até estabilizador e modo Macro 0,5x. Incrivelmente para fotografia de E-commerce eu tenho usado justamente 24mm pois na distância que eu clico consigo enquadrar 80% dos produtos na mesa still recortando somente o miolo. Antes usava 70 a 100mm e cobria o quadro completo mas acabava perdendo profundidade de campo e ficava com arquivos muito pesados (26mpx p/ reduzir pra 1Mpx 1000x1000). Se aparecer essa 24mm capaz que eu venda a lente do kit e fique só com primes… 16, 24 e 85.

Para a galera do desfoque :smiley:

Canon RF 135mm F1.8 - Q4/2022

:snack:

Essa é tooop :clap:

Alterei o título do tópico para: Tópico oficial para rumores para o sistema RF

:ok:

2 rumores um tanto quanto estranhos:

EOS R7 C (CINEMA)

Será quem tem espaço para um R7C junto com a R5C? :ponder:

CANON EOS R10A (2023)

P/ mim faria mais sentido em pensar em um R7A do que uma R10A… :ponder:

“Tópico oficial para rumores”… Achei engraçado.

Tem rumores que são questão de tempo. Não sei até que ponto vale a pena ficar agrupando tudo em um único tópico, mesmo que seja pra um sistema só.

É uma idéia de “tentar” ter um histórico mais fácil de localizar do que foi divulgado como rumor e o que realmente, e quando, virou realidade.

Parece que agora vai:

Essa 24mm F1.8 macro me interessa bastante.

Lançar 35 e 85 f/2 pra depois lançar uma 24mm 1.8 é estranho.

Opa duas interessantes, vamos ver quando e quanto vai ser o preço.
Capaz que a RF24 seja o mesmo preço da RF35 e a 15-30 seja o mesmo preço da 24-105 f4-7.1.

Mais clara e mais wide, tem que ser mais cara se manter a mesma qualidade.

Tem razão.

Mas será que essa 15-30 vai ser mesmo Full Frame ou será que não vai ser RF-S? Reciclagem da EF-M 15-45

Tem tudo pra ser FF.
Fazer trio com a 24-105 STM e a 100-400.

Já não tem o rumor de uma 18-45 APS-C?

Tem razão.

Praticamente.

Pelos rumores, deve ser anunciada amanhã, 12/07.